研究机会致病菌粘质沙雷氏菌在长达8周(约1300代)的时间内暴露于颗粒取食的纤毛虫、表面取食的变形虫和裂解性噬菌体的情况下,细菌生物量的时间和空间动态 ...
欢迎来到Bioscreen网站!
研究机会致病菌粘质沙雷氏菌在长达8周(约1300代)的时间内暴露于颗粒取食的纤毛虫、表面取食的变形虫和裂解性噬菌体的情况下,细菌生物量的时间和空间动态 ...
与其近亲人畜共患病原体猪链球菌¹⁵类似,乳酸乳球菌也是一种低GC革兰氏阳性细菌,具有简化基因组(GC百分比35.3%,2.37 Mb)。然而,令人意外 ...
本文中,我们对生物素代谢背景下的冗余基因进行了系统功能分析。我们证明了乳酸乳球菌生物素转运的体内证据,并确定了两个BirA直系同源物的不同功能分配。最 ...
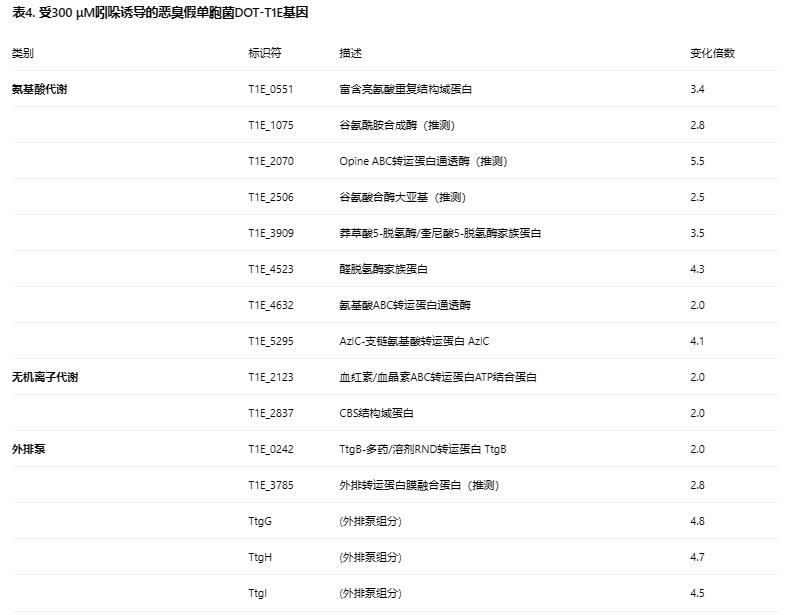
恶臭假单胞菌中TtgABC/TtgGHI RND外排泵介导抗生素排出在恶臭假单胞菌中,对杀菌和抑菌抗生素的主要耐药机制是通过TtgABC泵排出抗生素。 ...
恶臭假单胞菌中杀菌和抑菌化合物引起的HPF荧光淬灭模式与上述大肠杆菌模式相似。我们进一步检测了氨苄西林处理后细胞是否激活氧化应激响应程序:通过转录组分 ...
从添加10μg/mL利福平的LB平板上挑取新鲜培养的恶臭假单胞菌DOT-T1E和DOT-T1E-18单菌落,在液体LB培养基中30°C过夜培养;将培养 ...
本研究探讨了不同同基因恶臭假单胞菌菌株在有无吲哚存在时,对杀菌和抑菌抗生素的响应;以恶臭假单胞菌为模型系统,明确了吲哚作为种间信号的作用。吲哚可影响恶 ...
研究表明粪肠球菌与白色念珠菌在治疗后牙髓病中存在重要关系。然而,对于真菌-细菌相互作用及其可能的功能途径了解较少。在本研究中,相关科研人员研究了源自白 ...
本研究旨在探讨白色念珠菌来源的EVs对粪肠球菌生长和致病性的影响。研究通过超速离心法从白色念珠菌ATCC 90028的培养上清液中提取EVs,并通过透 ...
为了了解哪些鼠疫耶尔森菌基因对跳蚤肠道定植和适应以产生生物膜阻塞介导的可传播感染至关重要,我们先前定义了阻塞跳蚤中鼠疫耶尔森菌与LB体外生长条件相比的 ...